Nastaveni IP kamery

Problematika administrace LAN či WIFI sítí

Moderátor: Mods_senior

Odpovědět
rhoracek
nováček
Příspěvky: 1
Registrován: 10 úno 2012 08:28

Nastaveni IP kamery

Příspěvek od rhoracek »

Dobrý dne,
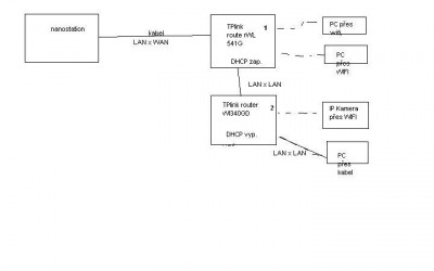
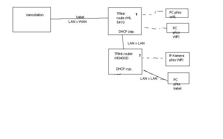
prosím o radu jak nastavit IP kameru s veřejnou adresou, v původní sití byl jedne router, nastaven virtual server na IP - kamery a fungovalo to. Nyni přidán druhý router, funguje, zařízení se připojí, ale nelze se dostat na kameru z veřejné adresy. Navím co nastavit na virtual serveru na routeru 1 a routeru 2 případně co nastavit, aby se slo dostat na kameru na routeru 2. Díky za radu. Zapojení v příloze.
sit.JPG
Uživatelský avatar
Žbeky
Guru Level 13
Guru Level 13
Příspěvky: 22288
Registrován: 29 kvě 2008 06:52
Bydliště: Vsetín - Pardubice

Re: Nastaveni IP kamery

Příspěvek od Žbeky »

Pokud je DHCP vypnuto, tak na druhém routeru nenastavuješ nic. Má kamera pořád stejnou IP jak předtím?
V SZ řeším jen záležitosti týkající se fóra. Na prosby a žádosti o technickou podporu nereaguji. Díky za pochopení.

HiJackThis + návod - HW Monitor - Jak označit příspěvek za vyřešený - Pravidla fóra
Odpovědět
  • Podobná témata
    Odpovědi
    Zobrazení
    Poslední příspěvek
  • Nastavení PC a monitoru na hry
    od Fargotroniac » » v Problémy s hardwarem
    9 Odpovědi
    8079 Zobrazení
    Poslední příspěvek od Fargotroniac
  • Dva routery za sebou nastavení
    od jan l » » v Administrace sítě
    19 Odpovědi
    16803 Zobrazení
    Poslední příspěvek od jan l
  • Unreal Commander - nastavení panelů
    od foto1977 » » v Vše ostatní (sw)
    1 Odpovědi
    7619 Zobrazení
    Poslední příspěvek od Mety
  • Windows 10: obnovení počítače do továrního nastavení
    od Prorock » » v Windows 11, 10, 8...
    4 Odpovědi
    8424 Zobrazení
    Poslední příspěvek od Prorock

Zpět na „Administrace sítě“