Jak upevnit držák monitoru/mikrofonu na stůl

Všeobecná sekce pro témata a příspěvky z oblasti IT či témata z blízkých oborů. Sekce pro uživatele, kteří nenalezli pro svůj IT dotaz tu správnou sekci.

Moderátoři: Mods_junior, Mods_senior

Odpovědět
Uživatelský avatar
kupjec
Level 3
Level 3
Příspěvky: 559
Registrován: 26 zář 2012 13:31
Bydliště: Opava

Jak upevnit držák monitoru/mikrofonu na stůl

Příspěvek od kupjec »

Zdravím,

mám dotaz ohledně držáku na monitor, respektive jeho upevnění na stůl. Bohužel nemám rovnou desku zespod (nejde tam tedy upevnit třeba klasické rameno na mikrofon) VIZ TŘEBA TENTO STŮL. Úplně se mi nechce zbytečně měnit stůl jen kvůli upevnění monitoru, ale našel jsem poměrně zajímavé řešení jak vyrovnat displeje monitoru a notebooku vedle sebe s pomocí klasického VESA držáku s notebookovým rozšířením.

Dotaz směřuje tedy na to, jestli má někdo zkušenosti s nějakým alternativním uchycením, jestli existují nějaké úchyty, které ignorují "nadměrně tlustou desku", respektive kovový vnitřní rám stolu a chytí se o desku až za ním, jde tedy o překonání řekněme 10CM pro uchycení na desku co má 2CM. Jestli jsou nějaká ramena, která mají tento úchyt modulární a počítají s tím, anebo je nějaké rozšíření/speciální úchyt.. nebo?

Rád bych se vyvaroval tomu, že zakoupím nějaké rameno pro monitor + notebook a zjistím, že to nebude pasovat.

Děkuji za vaše rady a nápady.
Sestava na mém profilu. | // Telefon: Nothing Phone (1) +Galaxy Watch Active 2
Zivan
Level 5.5
Level 5.5
Příspěvky: 2730
Registrován: 05 led 2010 12:08

Re: Jak upevnit držák monitoru/mikrofonu na stůl

Příspěvek od Zivan »

Nekdy ma ten drzak dve moznosti uchyceni, bud za hranu nebo udelat diru do desky, treba jako tady v manualu
https://www.connectit.cz/ConnectIT/medi ... manual.pdf
HP Elitebook 845 G8 (Ryzen 5650U, 32GB RAM, WD SN570 1TB, 14" fullHD IPS) + HP USB-C G5 Essential + 29" LG 29UM65 + 22" Eizo S2202W
Uživatelský avatar
kupjec
Level 3
Level 3
Příspěvky: 559
Registrován: 26 zář 2012 13:31
Bydliště: Opava

Re: Jak upevnit držák monitoru/mikrofonu na stůl

Příspěvek od kupjec »

Děkuji, to je taky možnost. Mnohem radši bych se však k "desktruktivním" řešením obrátil až nakonec, resp. vaše řešení je elegantní z hlediska jednoho úzkého šroubu, to je fajn.

Pro alternativní řešení, kdyby to z textu nebylo jasné, tak je hrana mého stolu velmi krátká na jakýkoli držák a pak je tam vysoký rám, který je potřeba překonat, tak věřím, že má někdo nějakou zkušenost s držákem či uchycením, které umí tu zábranu překonat.
VIZ: https://screenshot.cz/F9/F92UJ/deska.png

Dodatečně přidáno po 39 minutách 17 vteřinách:
Pravděpodobně bude vyvrtání šroubu do desky jediná a nejlepší možnost.. nechám téma ale otevřené pro další tipy, díky.
Ten držák od mallu má taky úchyt viz manul connectitu, takže asi skončím u toho https://screenshot.cz/39/39ZH2/snimek-o ... 213638.png.
Sestava na mém profilu. | // Telefon: Nothing Phone (1) +Galaxy Watch Active 2
Uživatelský avatar
cervcek
Level 5
Level 5
Příspěvky: 2245
Registrován: 19 led 2012 11:18
Bydliště: Vrchlabí

Re: Jak upevnit držák monitoru/mikrofonu na stůl

Příspěvek od cervcek »

Vždyť si můžeš nechat uříznout kousek C profilu, nebo naohýbané pásoviny, navařit na něj matku, našroubovat šroub a udělat si svěrku libovolného tvaru. Je taky dobrý si uvědomit, že nemusí být staženo do desky, ale klidně i přes ten jäkl. Čím delší bude vzdálenost od hrany stolu, tím míň pevná bude svorka a navíc bude mít tendenci se roztahovat.

Bez názvu.png
Bez názvu.png (7.28 KiB) Zobrazeno 1565 x
Děkuju za vaše názory a rady. :thumbup:
Uživatelský avatar
drobino
Level 3.5
Level 3.5
Příspěvky: 974
Registrován: 24 zář 2016 21:06

Re: Jak upevnit držák monitoru/mikrofonu na stůl

Příspěvek od drobino »

Proč prostě nedáš za tu hranu stolu pod šroub nějakou podložku, třeba kus dřevěného hranolku. myslím si že se najde držák s dostatečným rozvorem. Záleží kolik má ten rantl. Tahle má do 9,5cm tloušťky stolu.https://www.tsbohemia.cz/hama-stolni-dr ... mPEALw_wcB
Přílohy
drzak.jpg
Uživatelský avatar
kupjec
Level 3
Level 3
Příspěvky: 559
Registrován: 26 zář 2012 13:31
Bydliště: Opava

Re: Jak upevnit držák monitoru/mikrofonu na stůl

Příspěvek od kupjec »

@cervcek takové řešení mě samozřejmě napadlo, ale nejsem bohužel v situaci, kdy můžu řezat či svařovat kovové profily, "po kapsách" najdu leda pilku na železo a jsem rád, že jsem rád :D pro kutily ale dobrý a logický nápad..

@drobino, tak takové řešení mě teda vůbec nenapadlo :D myslíte, že co se stability týče, tak je to pro monitor s notebookem dobrá páka? Už vidím jak se "podložka" po měsíci uvolní a technika padá. Nápad dobrý, ale asi bych to viděl jen na lehké věci alá mikrofon apod., ale super tip!

Zkusím nad vašimi nápady ještě popřemýšlel jestli by doopravdy nešly nějak udělat, ale jak znám své kutilství, tak by se to časem zlomilo/uvolnilo a hodnota techniky by mě pak mrzela mnohem více, než malá díra v desce, skrze kterou projde alternativní uchycení držáku, takže asi zvolím tuto variantu od @zivana.
Sestava na mém profilu. | // Telefon: Nothing Phone (1) +Galaxy Watch Active 2
Uživatelský avatar
drobino
Level 3.5
Level 3.5
Příspěvky: 974
Registrován: 24 zář 2016 21:06

Re: Jak upevnit držák monitoru/mikrofonu na stůl

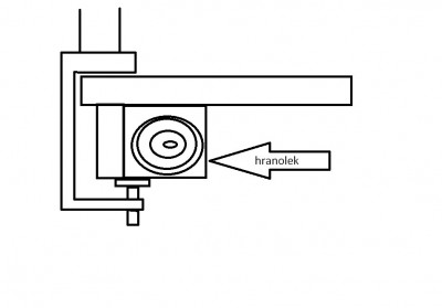
Příspěvek od drobino »

Věřím že i tak to bude držet ale pokud chceš mít jistotou tak hranolek provrtej a přichytni je ke stolové desce vruty. To už se 100pro neuvolní. Hlavně to nepřehnat ať neprojdou vruty stolovou deskou. Možnost je i přilepit ale to už je v podstatě nevratné.
Odpovědět
  • Podobná témata
    Odpovědi
    Zobrazení
    Poslední příspěvek
  • Držák k televizy
    od Shokata88 » » v Vše ostatní (hw)
    4 Odpovědi
    3808 Zobrazení
    Poslední příspěvek od meda2016
  • low fps/hz na druhém monitoru
    od beestback » » v Problémy s hardwarem
    0 Odpovědi
    3745 Zobrazení
    Poslední příspěvek od beestback
  • výběr monitoru
    34 Odpovědi
    10928 Zobrazení
    Poslední příspěvek od teichmann.ondrej
  • Nastavení PC a monitoru na hry
    od Fargotroniac » » v Problémy s hardwarem
    9 Odpovědi
    5725 Zobrazení
    Poslední příspěvek od Fargotroniac
  • Výběr Monitoru 1440p
    od Amrik » » v Rady s výběrem hw a sestavením PC
    3 Odpovědi
    7583 Zobrazení
    Poslední příspěvek od Kogaku

Zpět na „Vše ostatní (z oblasti IT)“